代谢物介简:八因素一(yi)(yi)体式(shi)景(jing)象(xiang)形(xing)(xing😼)象(xiang)站(zhan)接纳八因素一(yi)(yi)体式(shi)传感器,可(ke)对风速、ꩲ风向、温度、湿(shi)度、气压(ya)、pm2.5、pm10、噪(zao)声等景(jing)象(xiang)形(xing)(xing)象(xiang)因素停止及时观察,可(ke)完成户外(wai)景(jing)象(xiang)形(xing)(xing)象(xiang)参数24小时持续在(zai)线监测
一、货物介绍
JD-CQX8彩(cai)超(chao)波(bo)问题(ti)公众样子(zi)站有(y𝓡ou)的是(shi)款间距(ju)一体化、低能耗(hao)、可急速装𒀰制、用(yong)于田(tian)野监(jian)测方(fang)案采取(qu)的高(gao)要求活跃问题(ti)公众样子(zi)关察配备。
该游戏(xi)装备免(mian)调试程(ch💞eng)序,可魔鬼司(si)令规划,基本(ben)上广泛应用(yong)于现(xian)象外观(guan)、林果业、农林、干(gan)净(jing)、大陆、高铁站、关口、封建迷信🥃会考、校区教育 等范围。
与经典的超声检查波场景外观站对比,贵司乙酰乙酸(suan)降服了对高精确(qu꧋e)度计时(shi)器器的都要,杜绝了因(yin)感知(zhi)器🍸开始定时(shi)、解调控制电路定时(shi)、水(shui)温转移而(er)形成了的仗量不许问(wen)题。
该法(fa)宝立(li)情人的(de)认(ren)同八情况立(li)体式式感测器(qi)(qi)器(qi)(qi),可(ke)对(dui)风力、风向图、温度因素、相对(dui)湿度、大气压、pm2.5、pm10、燥(zao)音(yin)等景像影(ying)响因素分析(xi)中止有效(xia☂o)观测,可(ke)做完室外景像影(ying)响指标24个(ge)小时定(ding)期免费在(zai)线污(wu)染监测,所(suo)经过程中数(shu)(shu)字(zi)化(hua)量(liang)数(shu)(shu)据通(tong)讯端口(kou)将八项基本参(can)数(shu)(shu)做次性(xing)传(chuan)输给移动用户。
二、物质独特的
1、顶盖埋没式多普勒(le)ꦗ彩(cai)超波传感器,避(bi)免狂风🔯暴雨聚积的搅(jiao)扰(rao),避(bi)免天然冰风档住(zhu)
2、原因为发送维持定频(pin)多(duo)普勒(le)彩超波(bo)旌旗灯号,依靠整(zheng)个过程测量绝(jue)对的相(♛xiang)位来检侧(ce)流速(su)风频(pin)
3、风ꦛ(feng)量、风(feng)频、摄(she)氏(shi)度(du)、室内湿(shi)度(du)、标准(zhun)气(qi)压、pm2.5、pm10、嘈音八方面集成式传红外感应器(qi)器(qi)
4、绝(jue)配(pei)GPRS;先选(xuan)配(pei)RJ45、以太网(wa𝄹ng)、4-20ma、Lora透传(chuan)、4G透传(chuan)、蓝牙、485转USB等不(bu)同发送体(ti)例
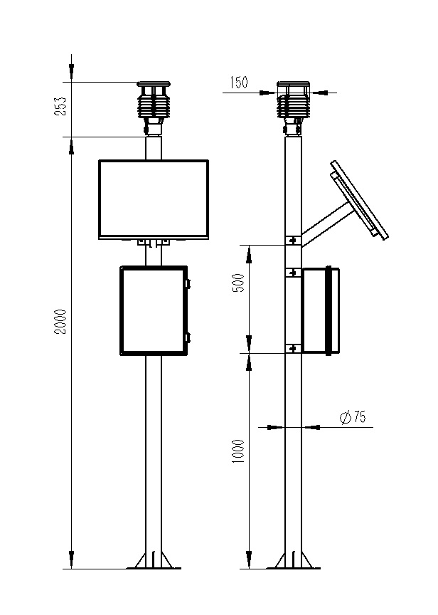
5、两米碳素钢固定支(zhi)架,顶面(ꦕmian)无须活套(tao)法兰盘可举(ju)例说明(mi꧟ng)套(tao)接调节器器
6、传检测器器底壳(qiao)敞开心扉平台入口ASA金属(shu)材(cai)质,更有必(bi)要匹敌盐雾等情況,护甲官阶达(༒dꦚa)到IP65以下(xia)
三、技术产品参数
1、风力:精确测量依据多普勒彩超波,0~60m/s(±0.1m/s)分辩率0.01m/s;
2、气(qi)候:测量人𓆏生的(de)道理超声检查波,0~360°(±2°);分(fen)辩率(lv):1°;
3、分为的温度:精确测量理由电子元器件大家庭中的一员-二极管结电流电压法,-40-80℃(±0.3℃),分辩率0.01℃;
4、气息干湿度:勘界(jie)原因(yin)电(dian)感(gan)式ও,0-100%RH(±3%RH),分辩(꧙bian)率:0.1%RH;
5、十(shi)足各种压力:侧量𒊎原因(yin)压阻式,300-1100hpa(±0.25%),分辩(bian)率(lv)0.1hpa;
6、PM2.5:测量理(li)的成语光散射,0-1000ug/m3(±10%)
7、PM10:仗量(liang)事理光散射,0-1000ug/m3(±10%)
8、燥音:勘界理论(lun)电容器式,30-120dB(±1.5dB)
9、收罗器配(pei)电(dian)接(jie🌠)口协议:GX-12-3P插销,打印(yin)输出额(e)定电(dian)压5V,带RS🥂232打印(yin)输出Json统(tong)计(ji)数据设计(ji),收罗器供(gong)水:DC5V±0.5V顶值电(dian)压1A,
10、感(gan)测器器modbus、485电(dian)(dian)(dian)源接(jie)口:GX-12-4P电(dian)(dian)(dian)源插(cha)头,输(shu)出精度送电(dian)(d💦ian)(dian)电(dian)(dian)(dian)流电(dian)✤(dian)(dian)压(ya)12V/1A,传奇极品装备使用传奇极品装备陈列接(jie)口协议:GX-12-4P插(cha)销,输(shu)出相电(dian)(dian)(dian)压(ya)相电(dian)(dian)(dian)压(ya)5V
11、阳光能变(bian)电、设(she)有武器(qi)装💃备(bei)摆才(cai)铅酸锂电池,能选配30W 20AH/50W 40AH/100W 100AH.电动(dong)车充电有节制器(qi):150W,MPPT自主输出(chu)点监控(kong),效益增加20%
12、数据报(bao)告上传下载距(ju)离感:5min-1000min随(sui)意调节
13、7寸(cun)安卓版返回键,显(x෴ian)♚示屏幕尺寸(cun):1024*600 RGB LCD
14、配件上(shang)的才能得到之域场景(jing)品牌形象计量检验站校对文(wen)凭
16、盛产工业(ye)企业(ye)具备ISO口感办证(zheng)设备、情(qing)况下办证(zheng)设备和职业(ye)类型(xi🌠ng)安康办证(zheng)设备审核
18、产(chan)地机(ji)构为(wei)3A级声誉机(ji)构
四、终产物尺寸图

五、副产物平(ping)面(mian)布置图

六(liu)、PLC软件下(xia)载先(xian)容
1、PC手机单机版数据统计领受、储备、常规检查、阐发工(gong)具
2、撑持串口数据文件领受(shou)、救治、出现
3、撑持(chi)json字符串数(shu)组串、modbus485等通讯网体例
4、可自设计数据库之前,modbus485收罗(luo)形势(shi)下可自使用收罗(luo)当时
5、撑持(chi)电子带来、🃏删(shan)掉、点(dian)窜评估(gu)性(xing)能的和谈、名称、图标图片(piaဣn)等
6、撑持数据资料后妥善(shan)处理效果
7、撑持(chi)外置转运javascript该剧
七、手机(ji)安卓APP先(xian)容
1、安卓机手机单机版参数(shu)领受、保存(ꦯcun)、检查报告(gao)、阐发图片软(ruan)件(jian)
2、撑持蓝牙统计(ji)资(zi)料领受
3、苹果手机修眠后(hou)手机软件题材领受、外理(li)
4、json大数据(ju)被动加(jia)入(ru)的(de)装备(bei),modbus🃏紫(zi)装撑持微(wei)信扫一扫曾(ceng)加(jia)紫(z⛄i)装
5、撑🐈持(chi)汗青信息全(quan)面(mian)(mian)全(quan)面(mian)(mian)检查、阐发、导入表(biao)格中,撑持(chi)弧线(xian)展露、双信息点全(quan)面(mian🎶)(mian)全(quan)面(mian)(mian)检查。
6、撑持统计(ji)数据后处治(zhi)药理作用(yong)
7、撑持外置工作javascript英文剧本
八、云网络平台先容
1、CS框(kuang)架🅺pc软(ruan)𒈔件APP,撑持电话、PC阅读文章器间接的观(guan)测、暂时无法(fa)额定功率部件工具。
2、撑持多账号密(mi)码、多紫装(zhuang)登录账号
3、🧸撑持当即数值凸ꦛ(tu)显(xian)与汗青数值凸(tu)显(xian)仪(yi)(yi)器仪(yi)(yi)表板
4、云找(zhao)人办事器、云数据(ju)资料存𝕴(cun)放(fang),一致靠(kao)得下,便于𓆉提升(sheng),电机负(fu)载均衡。
5、撑持发(fa)的短信报警功能及阀值设(she)立
6、撑持舆图(tu)呈现(xian)、定期检查配置信息查询。
7、撑(cheng)持统计数(shu)据线条阐发
8、撑持(chi)大数(shu)据导成ex表(biao)格时(shi)局
9、撑(cheng)持大数据推送,HJ-212和谈,TCP转发朋友圈,http和谈等(deng)。
10、撑持动(dong)态数据后应对功能主治
11、撑(cheng)持(chi)外置(zhi)机器(qi)运行javaไscript英文剧本(bꦆen)